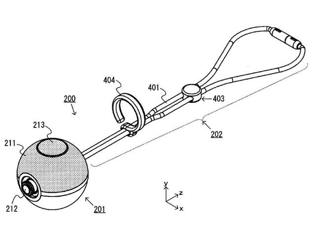
雖然推出已經有一年,任天堂在日本又新申請了幾項“游戲控制器”類專利,用于精靈球Plus設備。總計五項專利都是為精靈球Plus服務。后者是去年和《去吧,皮卡丘/伊布》同時推出的額外NS控制器,可用于控制游戲(劍/盾未支持)、傳輸精靈、通過光效聲響和震動進行互動、帶出去游玩練級等。

專利描述大致如下:
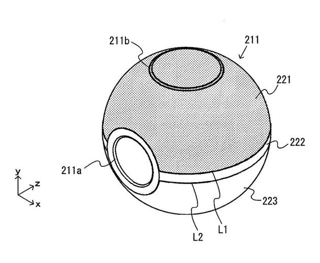
-在球面控制器中合理安排元件;
-運用球面控制器啟動各種操作;
-改進游戲控制器中發光結構的自由度
-提供部件正確排列在基本為球形面板上的游戲控制器




![]()
從描述上來看,基本上任天堂注冊這些專利是為了防止山寨品的出現,也有可能意味著在未來更多的利用該控制器——畢竟精靈球Plus在《寶可夢:劍/盾》的表現堪稱雞肋……
最后,通過解剖圖我們可以發現精靈球里面是裝不下精靈的。
責任編輯:Rex_07







